Tesla a aplicat pentru un patent care ar putea face camioneta Cybertruck mai eficientă atunci când tractează o remorcă. Potrivit publicației Electrek, eficiența camionetei fără acest dispozitiv și fără remorcă este una bună dar, odată atașată o remorcă, efectul aerodinamic este distorsionat complet.
Urmărește cele mai noi producții video TechRider.ro
- articolul continuă mai jos -
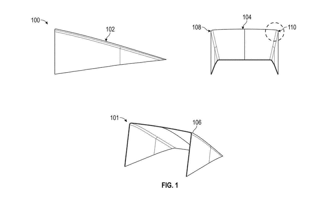
Producătorul american a depus un brevet pentru un dispozitiv gonflabil care să sporească efectul aerodinamic. În aplicația sa, Tesla a vrea să patenteze „un deflector aerodinamic care să reducă rezistența la înaintare și să sporească eficiența”.
„Componenta include un mecanism de reglare a presiunii și diverse interfețe de fixare, cum ar fi sisteme de șine, elemente de fixare magnetice și cleme de deconectare rapidă, distribuite de-a lungul vehiculului pentru o montare sigură. Această componentă acționează ca un deflector aerodinamic, optimizând fluxul de aer în jurul mijloacelor de transport, în special al vehiculelor combinate, cum ar fi vehiculele de tractare și remorcile”, a declarat Tesla în cererea sa pentru brevet.
Pe scurt, Tesla lucrează la un dispozitiv gonflabil care ar putea sta în bena Cybertruck și s-ar ridica pentru a închide golul de aer dintre camionetă și remorcă, extinzând astfel unghiul parbrizului deasupra remorcii. Cel mai probabil ideea nu va ajunge în producție, în primul rând din cauza complexității ideii, dar și a vânzărilor slabe pentru camioneta lui Elon Musk.

