Honda dezvoltă un superbike electric: noul brevet sugerează un Fireblade cu propulsie electrică – Lightblade

schita honda motocicleta electrica
Sursa Foto: Honda

Honda continuă strategia de electrificare a gamei sale de motociclete, iar recent a depus o cerere de brevet care indică dezvoltarea unui superbike complet electric, inspirat vizual și tehnic de modelul cunoscut Fireblade.

Urmărește cele mai noi producții video TechRider.ro

- articolul continuă mai jos -

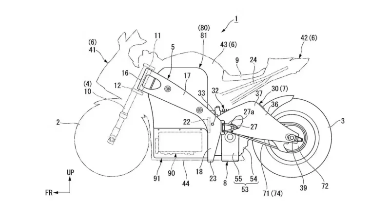
Documentația depusă dezvăluie un concept modular pentru ansamblul de propulsie și șasiu, ceea ce permite o adaptabilitate extinsă în funcție de diferite configurații de cadru.

Motorul, brațul oscilant (swing arm) și suspensia spate formează o unitate integrată, amplasată în partea din spate a cadrului, într-o poziție joasă, în interiorul brațului oscilant.

Această arhitectură lasă mai mult spațiu în cadrul principal pentru integrarea unor acumulatori de dimensiuni mari și permite, totodată, utilizarea unui braț oscilant alungit, cu un ampatament redus.

Honda se bazează în dezvoltarea acestui proiect pe experiența acumulată în cadrul inițiativei Mugen Shinden, derulată între 2012 și 2019, în cadrul competiției TT Zero de pe Insula Man.

În această perioadă, echipa Mugen Shinden, sprijinită tehnic de Honda, a obținut șase victorii consecutive, începând cu anul 2014. Piloți precum Michael Rutter și John McGuinness s-au remarcat în mod special în această competiție.

Potrivit informațiilor din brevet, unitatea de propulsie — care include motorul, axul brațului oscilant și punctul de prindere al amortizorului — este montată pe un bloc din aluminiu turnat, care se fixează în partea din spate a cadrului principal cu trei șuruburi de dimensiuni mari.

În același punct ajung și cablurile de înaltă tensiune. Documentul subliniază că solicitarea cadrului principal rămâne neschimbată chiar și în cazul înlocuirii motorului cu unul mai puternic, datorită acestei unități compacte, cu structură proprie, conectată direct la cadru.

Amortizorul este amplasat orizontal, deasupra motorului, și este integrat central în brațul oscilant. Designul compact vizează obținerea unui comportament echilibrat în manevrare și oferă o mare flexibilitate în adaptarea la diverse concepte de șasiu.

În ceea ce privește planurile de viitor, Honda a anunțat oficial că intenționează să lanseze aproximativ 30 de modele electrice până în anul 2030. Printre acestea se vor regăsi atât motociclete cu design retro, cât și scutere electrice.

Deși în vara anului 2025 piața motocicletelor super sport electrice este încă în curs de dezvoltare, compania japoneză pregătește terenul pentru posibile schimbări viitoare, menționând interesul pentru tehnologii emergente precum bateriile solid-state sau cele cu ioni de sodiu.

Aceste inovații ar putea contribui semnificativ la extinderea capabilităților motocicletelor electrice în anii următori.

 

Total
0
Shares
Lasă un răspuns

Adresa ta de email nu va fi publicată. Câmpurile obligatorii sunt marcate cu *

Citește si...