GM dezvoltă un nou motor în doi timpi cu turbocompresor electric

schita tehnica a unui motor
Sursa Foto: GM

General Motors explorează o nouă direcție tehnologică în domeniul motoarelor termice, printr-un brevet care descrie un motor în doi timpi modernizat, echipat cu supapă glisantă și un turbocompresor electric combinat cu funcție de turbo. Documentul tehnic propune o soluție la una dintre cele mai vechi probleme ale motoarelor în doi timpi: pierderile de spălare și controlul fluxului de gaze.

Urmărește cele mai noi producții video TechRider.ro

- articolul continuă mai jos -

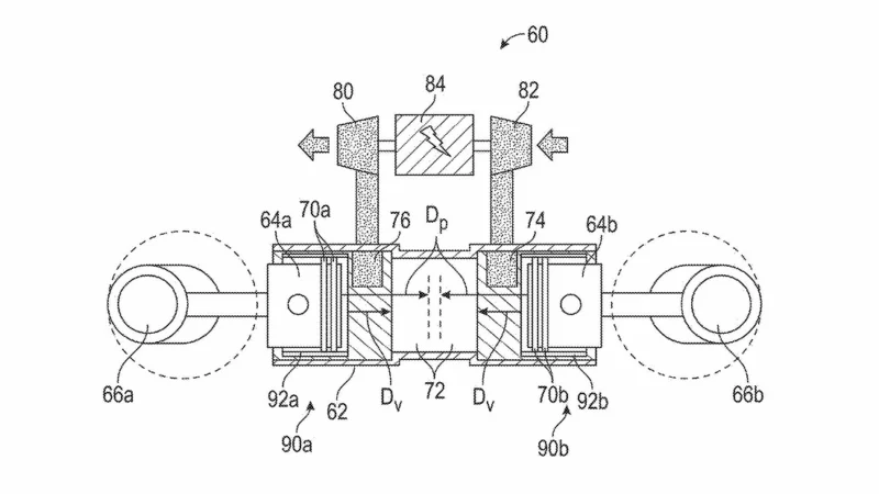
Motorul în doi timpi este recunoscut pentru eficiența sa mecanică și pentru capacitatea de a produce un cuplu dublu față de un motor în patru timpi de cilindree similară. În exploatarea reală, însă, acest tip de motor se confruntă cu pierderi inevitabile la schimbul de gaze, deoarece evacuarea și alimentarea se suprapun în interiorul cilindrului. Brevetul GM urmărește o eliminare a acestor pierderi prin adoptarea unei tehnologii vechi de peste un secol: supapa glisantă (sleeve valve).

Supapă glisantă acționată electric

Sistemul propus utilizează un manșon care se deplasează concentric cu cilindrul și care deschide sau închide orificiile de admisie și evacuare, etanșând camera de ardere imediat după faza schimbului de gaza. În timp ce versiunile istorice ale acestui mecanism erau acționate mecanic de arborele cotit, GM introduce un actuator electromecanic care controlează precis mișcarea manșonului.

Tehnologia supapei glisante a fost utilizată anterior pe motoare timpurii Mercedes și pe motoare radiale din anii ’30–’40, însă problemele legate de fiabilitatea lubrifierii au limitat răspândirea ei. Brevetul GM nu oferă în acest moment o soluție detaliată pentru lubrifierea manșonului, una dintre dificultățile istorice ale acestui tip de mecanism.

Compresor electric și turbo într-o singură unitate

Pentru a funcționa fără precomprimare în carter – etapă esențială la motoarele în doi timpi tradiționale – motorul are nevoie de un compresor. În viziunea GM, încărcarea aerului se face printr-un compresor electric care creează presiune pozitivă în cilindru. Combustibilul este injectat direct aproape de punctul mort superior, astfel încât în faza de schimbului de gaze în cilindru se află doar aer, fără amestec benzină–ulei.

Sistemul descris în brevet combină compresorul electric cu un turbo clasic într-o structură comună. La turații joase, compresorul este acționat electric; pe măsură ce presiunea gazelor de evacuare crește, turbina preia rolul principal și poate chiar produce energie electrică.

În teorie, această arhitectură ar reduce semnificativ emisiile specifice motoarelor în doi timpi, deoarece combustibilul nu intră în contact cu gazele evacuate în timpul purjării.

Rămân probleme tehnice vechi de peste un secol

Deși brevetul descrie un sistem sofisticat, anumite limite persistă. Chiar și în absența amestecului benzină–ulei, o parte din uleiul de ungere poate pătrunde în camera de ardere prin segmenții pistonului. În plus, trecerea segmentilor peste orificiile de admisie și evacuare poate genera uzură suplimentară.

De asemenea, fluctuațiile intrinseci ale amestecului aer–gaz rezultă din faptul că o parte din aerul comprimat se amestecă inevitabil cu gazele arse în timpul purjării. Brevetul sugerează utilizarea unor senzori care să mențină un amestec stoichiometric stabil.

Destinat automobilelor, nu performanței

În ciuda caracteristicilor tehnice care atrag atenția, proiectul GM nu este conceput ca motor de performanță. Brevetul descrie o configurație cu doi cilindri opuși și două arbori cotiți, o arhitectură utilizată în special pentru eficiență și echilibru mecanic.

Documentația indică faptul că motorul ar putea fi folosit ca „range extender” într-un sistem hibrid, producând energie electrică pentru încărcarea bateriilor, în timp ce tracțiunea ar rămâne integral electrică.

Brevetul nu oferă un calendar privind dezvoltarea sau implementarea tehnologiei, însă propune o abordare modernizată a unui concept vechi, cu potențial aplicabil în propulsia auto de generație viitoare.

Total
0
Shares
Lasă un răspuns

Adresa ta de email nu va fi publicată. Câmpurile obligatorii sunt marcate cu *

Citește si...